Nabídka
Genesis 75 s meziskelní žaluzií
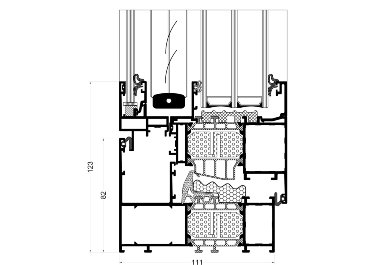
- systém navržený na základě systému Genesis 75 (GN011 + GN031), s možností doplnění dalšími profily z rodiny systému GN75
- konstrukce systému rozšířená o možnost integrace vnitřní žaluzie mezi hlavním sklem a přídavným vnějším sklem
- zasklení 4 sklem zajišťuje ještě lepší akustické parametry (akustika v rozmezí od 46 do 50 dB v závislosti na použitých sklech, pro konstrukci dvoukřídlého okna s pevným sloupkem o rozměrech 2100 x 1900 mm)
- přídavné sklo: tvrzené 6 nebo 8 mm
- skryté vedení kabelů v rámu a křídle
- možnost instalace automatického ovládání
- Uw = 0,79 W/m2K – pro okno o rozměrech 2100 x 1800 mm se sklem Ug=0,5 W/m2K a rámem Swisspacer Ultimate
- možné kombinace konstrukcí: jednokřídlé okno, dvoukřídlé okno s pevným sloupkem
Specifikace výrobku
| systém | materiál | hloubka rámu |
šířka příčky |
hloubka křídla |
maximální hloubka žaluzií |
sestava příčka/křídlo |
sestava rám/křídlo |
typ oken | tepelná izolace Uw* | akustika |
| GN 75 okno s meziskelní žaluzií |
hliník/ polyamid |
82 mm | 124 mm | 87 mm | 26 mm | 205 mm | 122 mm | jednokřídlé, dvoukřídlé s pevnou příčkou |
Uw* od 0,79 W/m2K |
od 46 do 50 dB** |
* pro okno o rozměrech 2100 x 1800 mm se sklem Ug=0,5 W/m2K a meziskelním rámečkem Swisspacer Ultimate
** v závislosti na použitých sklech
